
李经理:17888363903
裴经理:13869669795
魏经理:13105365051
QQ:862943269
邮箱:862943269@qq.com
公司地址:山东省潍坊市高新区光电路光电产业加速器
李经理:17888363903
裴经理:13869669795
魏经理:13105365051
QQ:862943269
邮箱:862943269@qq.com
公司地址:山东省潍坊市高新区光电路光电产业加速器
一、森林防火气象站产品简介
森林火灾是森林生态系统的大敌,它能在很短时间内,烧毁大面积的森林和大量的林副产品,破坏林分结构和森林环境,破坏自然界生态平衡,造成气候失调,水土流失,河流淤塞,洪水泛滥或水源枯竭。通过监测容易发生森林火灾区域的风速风向、空气的温度、相对湿度、太阳辐射等气象因子,可以对预防森林大火的发生,在发生大火时也可以指导工作人员进行快速合理的灭火工作,使财产损失降到低点。
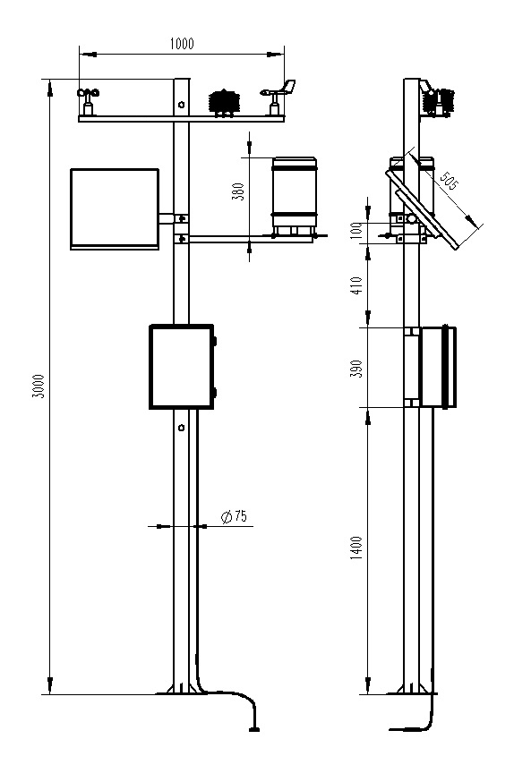
该设备由气象传感器,采集器,太阳能供电系统,立杆支架,云平台五部分组成。免调试,可快速布置,广泛运用于气象、农业、林业、环保、海洋、机场、港口、科学考察、校园教育等领域。
二、森林防火气象站产品特点
1、低功耗采集器:静态功耗小于50uA
2、标配GPRS联网、支持扩展蓝牙、有线传输
3、7寸安卓触屏,版本:4.4.2、四核Cortex™-A7,512M/4G
4、支持modbus485传感器扩展
5、太阳能充电管理MPPT自动功率点跟踪
6、三米碳钢支架,两节法兰盘对接
7、短信报警,超限后向指定的手机上发送短信
8、ABS材质防护箱,耐腐蚀、抗氧化,防水等级IP66
三、森林防火气象站技术参数
名 称 |
测量范围 |
分 辨 率 |
准 确 度 |
环境温度 |
-50~+100℃ |
0.1℃ |
±0.5℃ |
相对湿度 |
0~100%RH |
0.1% |
±3% RH |
风 向 |
0~360°(16方向) |
1° |
±5° |
风 速 |
0~60m/s |
0.1m/s |
±(0.3+0.03V)m/s |
雨 量 |
≦4mm/min |
0.2mm |
±0.4mm |
光照强度 |
0-200000Lux |
1Lux |
±2% |
大气压力 |
10~1100hPa |
0.1hPa |
±0.3hPa |
土壤温度 |
-50~+80℃ |
0.1℃ |
±0.5℃ |
土壤湿度 |
0~100% |
0.1% |
±3%RH |
二氧化碳 |
0-5000PPM |
1PPM |
±40PPM±读数的3% |
可以根据用户需求拓展配置:日照时数、蒸发量传感器、露点温度传感器、紫外线辐射传感器、光合辐射传感器等各种气象要素传感器。 |
|||
供电系统 |
市电/太阳能/多电源供电系统可选 |
||
通讯系统 |
RS485、USB、无线GPRS、以太网等通讯方式 |
||
专用支架 |
安装防护箱、传感器、供电电源、通讯设备等 |
四、森林防火气象站产品尺寸图
五、森林防火气象站产品结构图
六、森林防火气象站上位机软件介绍
1、PC单机版数据接收、存储、查看、分析软件
2、支持串口数据接收、处理、展示
3、支持json字符串、modbus485等通信方式
4、可自设置存储时间,modbus485采集模式下可自设置采集时间
5、支持自助增加、删除、修改监测参数的协议、名称、图标等
6、支持数据后处理功能
7、支持外置运行javascript脚本
七、森林防火气象站安卓APP介绍
1、安卓单机版数据接收、存储、查看、分析软件
2、支持蓝牙数据接收
3、手机休眠后软件后台接收、处理
4、json数据自动添加设备,modbus设备支持扫码添加设备
5、支持历史数据查看、分析、导出表格,支持曲线展示、单数据点查看。
6、支持数据后处理功能
7、支持外置运行javascript脚本
八、森林防火气象站云平台介绍
1、CS架构软件平台,支持手机、PC浏览器直接观测、无需额外安装软件。
2、支持多帐号、多设备登录
3、支持实时数据展示与历史数据展示仪表板
4、云服务器、云数据存储,稳定可靠,易于扩展,负载均衡。
5、支持短信报警及阈值设置
6、支持地图显示、查看设备信息。
7、支持数据曲线分析
8、支持数据导出表格形式
9、支持数据转发,HJ-212协议,TCP转发,http协议等。
10、支持数据后处理功能
11、支持外置运行javascript脚本
▼
17888363903